東莞市愛多電子有限公司代理銷售各式型號電阻式微型電流保險管,其體積小,外形像插件電阻式樣,可以按照空間特性彎角整形成各式形狀插腳進PCB上面,操作方便,安全可靠。
其具體規格如下:
一、
2T 3*8電阻式微型/環氧樹脂/慢斷微型電流保險絲

產品詳情
1.規格型號和安規認證
MODEL NUMBER AND
SAFETY CERTIFICATION
1-1 品名規格:系列號+額定電流+額定電壓+認證符號
Model Number: Part
Number+Rated Current+Rated Voltage+Approvals.
例子[example]:
2T 1.2
250V
1)系列號Part
Number
2) 額定電流 Rated Current
1)
2)
3)
3) 額定電壓 Rated Voltage
1-2額定電流和額定電壓
Rated Current And Voltage
額定電流: 32mA~1
Rated Current: 32 mA~1
額定電壓;125V/250V/400V
AC
Rated Voltage:125V/250V/400 AC
1-3標示Marking
保險管上需有下列標示
The fuse shall have the following marking:
規格:特性符號+額定電流+額定電壓
Specification:Characteristic Symbol+Rated Voltage
32mA~800mA : _mA 1A~1:_A
Trade mark:The Manufacture’s Logo+Part
Number+Approvals
32mA~1:UL CSA
注意:對標示字樣大小沒有規定
Note:Size of the markings have not be specified.
2.適用范圍
SCOPE
適用于一般電子設備。Used in electronic equipment.
3.工程圖和結構
OUTLINE DRAWING AND STRUCTURE
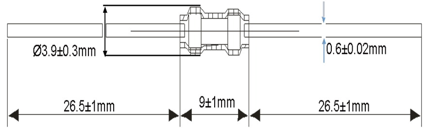
3-1 工程圖(單位:mm)
Outline Drawing and Dimensions(Unit:mm)
3-2結構
Structure
|
編號
No.
|
元件
Component
|
材質
Material
|
數量
Quantity
|
|
(1)
|
熔絲
Wire
|
合金
Alloy
|
1
|
|
(2)
|
銅帽
Cap
|
黃銅鍍鎳
Brass with mickel
plated
|
2
|
|
(3)
|
本體
Body
|
陶瓷管/膠料
Ceramic Tube/Plastic
|
1
|
|
(4)
|
引線
Lead
|
鍍錫銅線
Tinned Copper wire
|
2
|
|
(5)
|
鍍層
Insulating Coat
|
環氧樹脂
Epoxy Resin
|
/
|
4.外觀及形狀
APPEARANCES AND CONFIGURATION
4-1外觀:外觀不應有顯著的污點、鐵銹或者裂紋
Appearances:There shall not be any remaekable stain,rust
or crack on the appearances.
4-2形狀:軸向引腳的超小型保險絲
Configuration:Axial Leaded Micro-Fuse.
5.物理特性
PHYSICAL CHARACTERISTIC
5-1 拉力測試
Tensile test
沿端子的軸向施加10N的拉力,持續1分鐘。
Keep pulling the cap of the fuse with 10N at axial
direction for 1 min.
6.電氣特性
ELECTRICAL CHARACTERISTICS
|
% of Ampere Rating
|
Ampere Rating
|
Opening Time
|
|
100%
|
32mA - 1
|
4 Hours, Min.
|
|
200%
|
32mA - 1
|
60 Second, Max
|
|
275%
|
500mA~ 10A
|
300 msecs., Max.
|
|
400%
|
500mA~ 10A
|
30 msecs., Max.
|
|
1000%
|
500mA~ 10A
|
4 msecs., Max.
|
|
規格判定Item
|
|
Openrating Temp
|
-55℃~125℃
|
|
大熔斷時限
|
200% Rating 60SEC
|
|
突波實驗
|
3millisecond at 1000%
rated current
|
|
Melting I 2 t
|
1.83~2.083
|
|
Cold Ohms
|
1.2/0.058~0.067 Ohm
|
|
Interrupting rating
|
50A/125VAC
50A/250VAC
|
|
Dimensions
|
9mm*¢3.9mm
|
|
Ssfty
|
UL CSA CCC ROHS
|
7.環境特性
ENVIRONMENTAL SPECIFICATION
7-1 操作溫度範圍:-55℃~125℃
Operating Temperature: -55℃~125℃
7-2 保存條件
Storage Conditions
溫度:+10℃~60℃
Temperature: +10℃~60℃
在相對濕度≤75%下平均可存放3年
On average, It can be stored below the relative humidity
or 75% for 3 years.
在非露天下,相對濕度為95%下多可存放30天。
Without dew, It can be kept under humidity of 95% for 30
days.
8.焊接條件
SOLDERING PAAMETERS
8-1波峰焊
Wave Solder
焊接溫度:260±5℃
Soldering Temperature:260±5℃
焊接時間:4 Sec. Max.
Soldering Time:4 Sec.Max.
8-2手工焊錫
Manual Solder
焊接溫度:350±5℃
Soldering Temperature: 350±5℃
焊接時間:3 Sec. Max.
Soldering Time: 3 Sec. Max.
9.其他使用注意事項
OTHER NOTICE IN USING
如果需在保險絲上加熱縮套管,烘烤溫度與時間需參照以下規定
If heat shrink tubing was needed,the roast temperature
and time should be refer to the following.
設定烘烤溫度:不大於150℃ 烘烤時間:50s Max.
The temperature should be sel under 150℃,roast time:50s
Max.
二、2F-3x8
電阻式 快斷 陶瓷保險管

產品詳情
1.規格型號和安規認證
MODEL NUMBER AND SAFETY
CERTIFICATION
1-1 品名規格:系列號+額定電流+額定電壓+認證符號
Model Number: Part
Number+Rated Current+Rated Voltage+Approvals.
例子[example]:
2T
2A 400V
1)系列號 Part Number
2)額定電流 Rated Current
1) 2) 3)
3)額定電壓 Rated Voltage
1-2額定電流和額定電壓
Rated Current And Voltage
額定電流: 100mA~10A
Rated Current: 32 mA~1
額定電壓;125V/250V/400V AC
Rated Voltage:125V/250V/400 AC
1-3標示Marking
保險管上需有下列標示
The fuse shall have the following
marking:
規格:特性符號+額定電流+額定電壓
Specification:Characteristic
Symbol+Rated Voltage
100mA~800mA :
_mA 1A~10A:_A
Trade mark:The
Manufacture’s Logo+Part Number+Approvals
100mA~10A: TUV UL
CSA CQC
注意:對標示字樣大小沒有規定
Note:Size of the markings have not be
specified.
2.適用范圍
SCOPE
適用于一般電子設備。Used in electronic equipment.
3.工程圖和結構
OUTLINE DRAWING AND STRUCTURE
3-1 工程圖(單位:mm)
Outline Drawing and Dimensions(Unit:mm)
3-2結構Structure
|
編號
No.
|
元件
Component
|
材質
Material
|
數量
Quantity
|
|
(1)
|
熔絲
Wire
|
合金
Alloy
|
1
|
|
(2)
|
銅帽
Cap
|
黃銅鍍鎳
Brass with mickel plated
|
2
|
|
(3)
|
本體
Body
|
陶瓷管
Ceramic Tube
|
1
|
|
(4)
|
引線
Lead
|
鍍錫銅線
Tinned Copper wire
|
2
|
4.外觀及形狀
APPEARANCES AND CONFIGURATION
4-1外觀:外觀不應有顯著的污點、鐵銹或者裂紋
Appearances:There shall not be any
remaekable stain,rust or crack on the appearances.
4-2形狀:軸向引腳的超小型保險絲
Configuration:Axial Leaded Micro-Fuse.
5.物理特性
PHYSICAL CHARACTERISTIC
5-1 拉力測試
Tensile test
沿端子的軸向施加10N的拉力,持續1分鐘,管體不斷開、破裂。
Keep pulling the cap of the fuse with
10N at axial direction for 1 min,and the pipe body is continuously opened
and broken.
5-2管體強度測試
Strength of fuse tube
保險管管體固定好后,在管體中央部位施加15N壓力,管體不斷開、破裂。
After the fuse pipe body is fixed, the
15N pressure is applied to the center position of the pipe body, and the pipe
body is continuously opened and broken.
6.電氣特性
ELECTRICAL CHARACTERISTICS
|
% of
Ampere Rating
|
Ampere
Rating
|
Opening
Time
|
|
100%
|
100mA -
10A
|
4 Hours,
Min.
|
|
200%
|
100mA -
10A
|
60 Second,
Max
|
|
275%
|
500mA~ 10A
|
300
msecs., Max.
|
|
400%
|
500mA~ 10A
|
30 msecs.,
Max.
|
|
1000%
|
500mA~ 10A
|
4 msecs.,
Max.
|
7.環境特性
ENVIRONMENTAL SPECIFICATION
7-1 操作溫度范圍:-55℃~125℃
Operating Temperature: -55℃~125℃
7-2 保存條件
Storage Conditions
溫度:+10℃~60℃
Temperature: +10℃~60℃
在相對濕度≤75%下平均可存放3年
On average, It can be stored below the
relative humidity or 75% for 3 years.
在非露天下,相對濕度為95%下多可存放30天。
Without dew, It can be kept under
humidity of 95% for 30 days.
8.焊接條件
SOLDERING PAAMETERS
8-1波峰焊
Wave Solder
焊接溫度:260±5℃
Soldering Temperature:260±5℃
焊接時間:4 Sec. Max.
Soldering Time:4 Sec.Max.
8-2手工焊錫
Manual Solder
焊接溫度:350±5℃
Soldering Temperature: 350±5℃
焊接時間:3 Sec. Max.
Soldering Time: 3 Sec. Max.
9.其他使用注意事項
OTHER NOTICE IN USING
如果需在保險管上加熱縮套管,烘烤溫度與時間需參照以下規定
If heat shrink tubing was needed,the
roast temperature and time should be refer to the following.
設定烘烤溫度:不大于150℃ 烘烤時間:50s Max.
The temperature should be sel under 150℃,roast
time:50s Max.
三、2.4X7電阻式 慢斷 微型環氧樹脂保險絲 TUV UL CSA CQC
產品詳情
1.規格型號和安規認證
MODEL NUMBER AND SAFETY
CERTIFICATION
1-1 品名規格:系列號+額定電流+額定電壓+認證符號
Model Number: Part
Number+Rated Current+Rated Voltage+Approvals.
例子[example]:
2SMT/2T
2A 400V 1)系列號 Part
Number
2)額定電流 Rated Current
1) 2) 3) 3)額定電壓 Rated Voltage
1-2額定電流 和額定電壓
Rated Current And Voltage
額定電流 : 32mA~1
Rated Current: 32 mA~1
額定電壓;125V/250V/400V AC
Rated Voltage:125V/250V/400 AC
1-3標示Marking
保險管上需要有下列標示
The fuse shall have the following
marking:
規格:特性符號+額定電流+額定電壓
Specification:Characteristic
Symbol+Rated Voltage
32mA~800mA : _mA
1A~1:_A
Trade mark:The
Manufacture’s Logo+Part Number+Approvals
32mA~1: TUV UL CSA
CQC
注意:對標示字樣大小沒有規定
Note:Size of the markings have not be
specified.
2.適用范圍
SCOPE
適用于一般電子設備。Used in electronic equipment.
3.工程圖和結構
OUTLINE DRAWING AND STRUCTURE
3-1 工程圖(單位:mm)
Outline Drawing and Dimensions(Unit:mm)
3-2結構Structure
|
編號
No.
|
元件
Component
|
材質
Material
|
數量
Quantity
|
|
(1)
|
熔絲
Wire
|
合金
Alloy
|
1
|
|
(2)
|
銅帽
Cap
|
黃銅鍍鎳
Brass with mickel plated
|
2
|
|
(3)
|
本體
Body
|
陶瓷管/膠料
Ceramic Tube/Plastic
|
1
|
|
(4)
|
引線
Lead
|
鍍錫銅線
Tinned Copper wire
|
2
|
4.外觀及形狀
APPEARANCES AND CONFIGURATION
4-1外觀:外觀不應有顯著的污點、鐵銹或者裂紋
Appearances:There shall not be any
remaekable stain,rust or crack on the appearances.
4-2形狀:軸向引腳的超小型保險絲
Configuration:Axial Leaded Micro-Fuse.
5.物理特性
PHYSICAL CHARACTERISTIC
5-1 拉力測試
Tensile test
沿端子的軸向施加10N的拉力,持續1分鐘,管體不斷開、破裂。
Keep pulling the cap of the fuse with
10N at axial direction for 1 min,and the pipe body is continuously opened
and broken.
5-2管體強度測試
Strength of fuse tube
保險管管體固定好后,在管體中央部位施加15N壓力,管體不斷開、破裂。
After the fuse pipe body is fixed, the
15N pressure is applied to the center position of the pipe body, and the pipe
body is continuously opened and broken.
6.電氣特性
ELECTRICAL CHARACTERISTICS
|
% of Ampere Rating
|
Ampere Rating
|
Opening Time
|
|
100%
|
32mA - 1
|
4 Hours, Min.
|
|
200%
|
32mA - 1
|
60 Second, Max
|
|
275%
|
500mA~ 10A
|
300 msecs., Max.
|
|
400%
|
500mA~ 10A
|
30 msecs., Max.
|
|
1000%
|
500mA~ 10A
|
4 msecs., Max.
|
|
規格判定Item
|
系統AVL1
|
2nd souece(AVL2)
|
|
TAPYE
|
Slo-Blo
|
無資料
|
|
Openrating Temp
|
-55℃~125℃
|
-55℃~125℃
|
|
Temp.derating Currev
|
無資料
|
無資料
|
|
大熔斷時限
|
200% Rating 60SEC
|
60sec MAX(小于60秒)
|
|
突波實驗
|
3millisecond at 1000% rated current
|
3millisecond at 1000% rated current
|
|
Melting I 2 t
|
3.14
|
3.14
|
|
Cold Ohms
|
1A/0.13~0.15 Ohm
|
1A/0.13~0.15 Ohm
|
|
Interrupting rating
|
50A/125VAC
50A/250VAC
|
50A/250VAC
|
|
50A/400VAC
|
|
Dimensions
|
7.2mm*¢2.6mm
|
7.2mm*¢2.6mm
|
|
Ssfty
|
UL CSA
|
CCC
|
7.環境特性
ENVIRONMENTAL SPECIFICATION
7-1 操作溫度范圍:-55℃~125℃
Operating Temperature: -55℃~125℃
7-2 保存條件
Storage Conditions
溫度:+10℃~60℃
Temperature: +10℃~60℃
在相對濕度≤75%下平均可存放3年
On average, It can be stored below the
relative humidity or 75% for 3 years.
在非露天下,相對濕度為95%下多可存放30天。
Without dew, It can be kept under
humidity of 95% for 30 days.
8.焊接條件
SOLDERING PAAMETERS
8-1波峰焊
Wave Solder
焊接溫度:260±5℃
Soldering Temperature:260±5℃
焊接時間:4 Sec. Max.
Soldering Time:4 Sec.Max.
8-2手工焊錫
Manual Solder
焊接溫度:350±5℃
Soldering Temperature: 350±5℃
焊接時間:3 Sec. Max.
Soldering Time: 3 Sec. Max.
9.其他使用注意事項
OTHER NOTICE IN USING
如果需在保險管上加熱縮套管,烘烤溫度與時間需要參照以下規定
If heat shrink tubing was needed,the
roast temperature and time should be refer to the following.
設定烘烤溫度:不大于150℃ 烘烤時間:50s Max.
The temperature should be sel under
150℃,roast time:50s Max.
|